По всем вопросам подбора, наличию, стоимости и способа доставки запчастей для строительной техники, можно обратиться к нашим консультантам по телефону +7 (343) 288-39-91, либо заполнить форму обратной связи и мы оперативно с вами свяжемся.
Водило Промтрактор ТГ-302
 Отправить запрос
                				Ваш заказ будет обработан в самые короткие сроки. Мы ценим наших клиентов.
2001-12-103-20СП Водило 2001-12-103СП Водило 
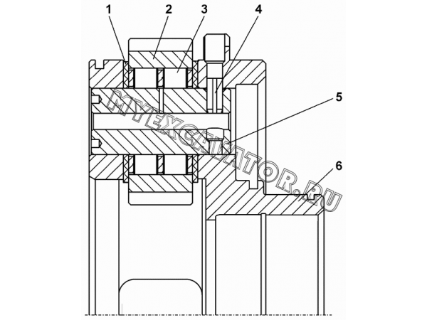
1. 2001-12-27 Кольцо упорное
2. 2001-12-26 Сателлит
3. 6-252807Д Подшипник
4. 2001-12-111СП Штифт
5. 2001-12-30 Ось
6. 2001-12-9 Водило
                                            1. 2001-12-27 Кольцо упорное
2. 2001-12-26 Сателлит
3. 6-252807Д Подшипник
4. 2001-12-111СП Штифт
5. 2001-12-30 Ось
6. 2001-12-9 Водило
| Характеристики | |
|---|---|
| Применяемость | ТГ-302 | 

