По всем вопросам подбора, наличию, стоимости и способа доставки запчастей для строительной техники, можно обратиться к нашим консультантам по телефону +7 (343) 288-39-91, либо заполнить форму обратной связи и мы оперативно с вами свяжемся.
Водило Промтрактор Т-35.01
Отправить запрос
Ваш заказ будет обработан в самые короткие сроки. Мы ценим наших клиентов.
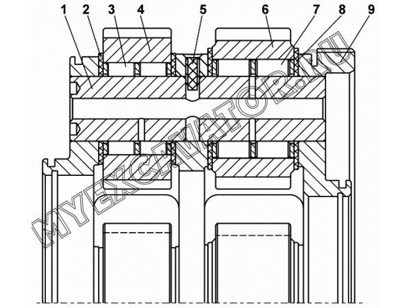
2501-12-153СП Водило
1. 2501-12-189 Ось
2. 2501-12-160 Кольцо упорное
3. 6-252908Д Подшипник
4. 2501-12-184 Сателлит
5. 2001-12-111СП Штифт
6. 2501-12-185 Сателлит
7. 252808Д Подшипник
8. 2501-12-160-01 Кольцо упорное
9. 2501-12-206 Водило
1. 2501-12-189 Ось
2. 2501-12-160 Кольцо упорное
3. 6-252908Д Подшипник
4. 2501-12-184 Сателлит
5. 2001-12-111СП Штифт
6. 2501-12-185 Сателлит
7. 252808Д Подшипник
8. 2501-12-160-01 Кольцо упорное
9. 2501-12-206 Водило
| Характеристики | |
|---|---|
| Применяемость | Т-35.01 |
