По всем вопросам подбора, наличию, стоимости и способа доставки запчастей для строительной техники, можно обратиться к нашим консультантам по телефону +7 (343) 288-39-91, либо заполнить форму обратной связи и мы оперативно с вами свяжемся.
Оборудование рыхлительное Промтрактор Т-11.01
Отправить запрос
Ваш заказ будет обработан в самые короткие сроки. Мы ценим наших клиентов.
011101-98-1-02-20СП Оборудование рыхлительное 011101-98-1-02СП Оборудование рыхлительное
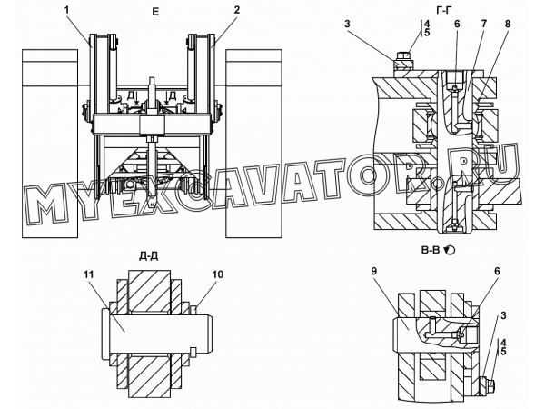
1. 011101-97-100-20СП Тяга верхняя
1. 011101-97-100СП Тяга верхняя
2. 011101-97-100-01-20СП Тяга верхняя
2. 011101-97-100-01СП Тяга верхняя
3. 011101-97-2-20 Планка
3. 011101-97-2 Планка
4. Болт М12-6gх25 ГОСТ7796-70
5. Шайба 12.ОТ ГОСТ6402-70
6. Масленка 1.2.Кд6хр ГОСТ19853-74
6. Масленка 1.2.Ц6хр ГОСТ19853-74
7. 011101-97-10-06СП Палец
8. 011101-97-7-01 Кольцо
9. 011101-97-10-07СП Палец
10. 335900-01 Шплинт
11. 011101-97-1 Палец
1. 011101-97-100-20СП Тяга верхняя
1. 011101-97-100СП Тяга верхняя
2. 011101-97-100-01-20СП Тяга верхняя
2. 011101-97-100-01СП Тяга верхняя
3. 011101-97-2-20 Планка
3. 011101-97-2 Планка
4. Болт М12-6gх25 ГОСТ7796-70
5. Шайба 12.ОТ ГОСТ6402-70
6. Масленка 1.2.Кд6хр ГОСТ19853-74
6. Масленка 1.2.Ц6хр ГОСТ19853-74
7. 011101-97-10-06СП Палец
8. 011101-97-7-01 Кольцо
9. 011101-97-10-07СП Палец
10. 335900-01 Шплинт
11. 011101-97-1 Палец
| Характеристики | |
|---|---|
| Применяемость | Т-11.01 |
